【数据来源】:
聚法案例法律数据库;
我们筛选了全国范围内的合同诈骗罪案件裁判文书47503份用作分析的数据来源。
【数据区间】:
2007年至2017年。
一 何谓“有效辩护”?
“有效辩护”,提出已久,但如何实现,争议不断,一时难有定论。
在此,套用一下“黑猫白猫”论,我们认为“不管有效无效,能最好维护当事人利益,就是最好辩护!”
通过裁判文书大数据分析,我们或许可以找到更好的“有效辩护”。
二 合同诈骗案件之法院观点
从上图可看出,量刑三年以下的达到67.41%,十年以上的在10%多点,合同诈骗罪的平均刑期基本在两年半左右,由此可见,合同诈骗罪的平均量刑并非像大众想象的那么重。
缓刑的比例接近一成,说明大多数诈骗案的涉案数额并不是太高。
无罪案件,千分之一多一点,就是说一千个案件中就有一个无罪案件,这个结果貌似比全国无罪案件的平均率高了不少。
三 合同诈骗案件之基本概况
中级法院审理的合同诈骗案件所占比例最多,六成以上,考虑到尽管合同诈骗案件属于刑法严厉打击的对象,但具体到量刑还是要比诈骗罪要轻那么一点点,而且涉嫌合同诈骗罪的多数文化程度相对较高,更愿意用法律维护自身权利,多数当事人会选择上诉以争取更低的刑期,所以二审案件占到六成以上,也就不足为奇了。
最高院办理的合同诈骗案件仅有17例,考虑到最高院办理的刑事案件基本都是死刑复核,可知这17例案件中当事人应该还涉嫌其他更严重的犯罪,导致其有可能判处死刑。
二审案件接近全部案件的15%,说明,对于一审判决,大部分当事人还是可以接受的,但也有相当部分难以接受,这与合同诈骗罪当事人文化程度较高是有一定关系的,在案件审理过程中,他们也久病成医,对法律了解甚多,进而让他们更有主见,知道上诉是对自己有利无害的选择。
再审的极少,所以要想解决案件,必须在再审之前解决战斗,千万不要对再审寄以厚望!
广东省、浙江省、江苏省、山东省,毫无争议的挤进前四名,前四名占全部案件的28.45%,远远超出了四分之一,当之无愧的诈骗之王。
从地图颜色可清晰看出,东南沿海等经济最发达地区,合同诈骗犯罪最为猖獗,而越往西部内地等经济欠发达地区,合同诈骗则相对较少。
让人颇感意外的是,河南省作为一个内地省份,也并不像沿海省份那么发达,竟然排名第四,确实不一般,说明河南人也不是好惹的,更不甘落后于沿海。
四 合同诈骗案件之审理法院
合同诈骗案件审理法院前五名里面包括我国新四大城市(北、上、深、杭)中的三个,南京也是多朝古都,且是财政大省江苏的省会,经济发达的程度,其他城市只能望其项背,在合同诈骗界名列前茅,也无可厚非。
诡异的是,合肥作为欠发达的安徽的省会,竟然独占鳌头,成了金牌得主,实在让一些人一时难以接受。
从一个侧面也反映出,合肥有成为超级大城市的可能,安徽的经济实力也不一般,起码有可能和江浙等省切磋切磋。
五 合同诈骗案件之裁判结果
从裁判结果看,重头大戏是有期徒刑,占了97.76%,无期徒刑的案件仅有0.54%,说明合同诈骗罪一般刑期不多数都不会特别重。
而无罪案件有58件,占比为0.17%,也就是说1000件案件中有17件是最终被判无罪。这还不包括检察院撤回起诉、不予起诉等情形的案件。可见合同诈骗罪案件,证据或事实确有瑕疵的,辩护律师应该据理力争,尽量将当事人的利益最大化。
当然,扎实的工地,加上出色的辩护,如真的拯救了当事人,那么,同时你也成就了自己。
在有期徒刑部分,三年以下的占了63.75%,十年以下的占了87.28%,可见,合同诈骗罪,量刑并不是太重,大部分属于情节较轻的案件。
所以,这就给一听说合同诈骗,就吓得魂飞魄散的人,打了一针镇定剂。
不严重,别太怕;但没有事,也别轻易招惹它,毕竟,再轻也是犯罪啊。再说,监狱的生活,也不是你想过就能过的。
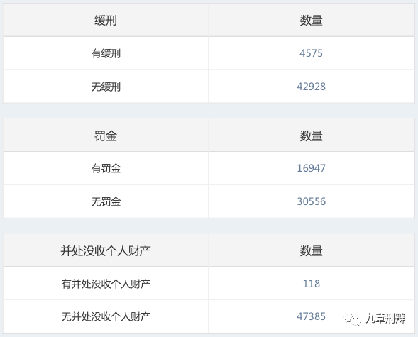
缓刑案件占了9.63%,将近一成的比例,说明在合同诈骗案件中,情节不太严重的,还是可以积极争取缓刑的。
罚金刑有35.68%,超过了三分之一,说明并处或单处罚金刑的案件,还是很大比例的,也是今后辩护律师努力的方向。
并处没收财产的仅有0.25%,主要是因为合同诈骗罪案件,一般数额不会特别巨大,远未达到没收财产的程度。
六 合同诈骗案件之量刑情节
 
从文书认定结果来看,在合同诈骗罪方面,“悔罪表现”情节认定成功的几率是特别大的,超过了一半;
“自首”情节的认定,也不少,占了8.14%,这主要是因为合同诈骗罪当事人文化程度较高,心理素质较好的原因,他们在意识到“是福不是祸,是祸躲不过”之后,不少人会选择主动投案,争取宽大处理。
有人说:知识就是力量,而在合同诈骗嫌疑人看来,知识就是刑期。
正是:不怕坏人多,就怕有文化的坏人多。
至于“立功”“坦白”“退赃退赔”“被害人谅解”等情节的认定则相对较难,低则1%,最高才3%多点;
所以,合同诈骗罪案件,从自首情节着手,成功的几率还是蛮大的。
七 合同诈骗案件之辩护要点
由上图看看出,“没有实施诈骗行为” “属于民事纠纷”两种观点占比分别为54.3%和41.54%,合计接近96%,几乎占了全部,显然是辩护律师的常规武器,大多数律师都能想到,更会用到。
而“有履约能力”的观点仅为4%多一点点,尽管不常见,但如果确有证据证明当事人存在履约能力,那么,合同诈骗的故意就相对低了不少,如此,被认定为一般民事纠纷的可能性就会较大,进而会被判无罪。
主观方面:缺乏诈骗故意超过三分之一,缺乏非法占有目的接近三分之二,二者显然也属于刑辩律师的常规武器。
至于主从犯的区分,在合同诈骗案件中,同样是把利器,每个当事人都想手持利器成功脱身,每个辩护人也都想利用此等利器帮助当事人摆脱困境;
人类的习惯都是趋利避害,毕竟“人为财死,鸟为食亡”,是亘古不变的道理。
就量刑情节来说,“悔罪表现”就像古代侠客的剑、近代红军的“三八大盖”,属于最常规的武器,必须人手一支,熟练掌握,否则,你就不配做刑辩业务。
而“立功”“自首”情节的使用,则要多加谨慎,要么不用,要用,就要像“小李飞刀”——“例无虚发”,也要像小偷一样,绝不能空手而归,因为相对于其他普通情节,“立功”“自首”,可谓是核武器,威慑力强,但无法量产。
就犯罪形态方面的辩护要点而言,提出“未遂”观点的案例占比很高,82.66%,八成以上,后两种情节,则相对较少,近五万份文书中,提到者不足一百,显然无足轻重。
其实,此种情况与合同诈骗罪的实际情况,是密切相关的,能涉嫌这个罪名,大多不是傻瓜,因为傻瓜只有被骗的份,何来骗人的能力?
既然嫌疑人的脑子转动的相对都比较快,那么他们在开始实施犯罪之前,必然已深思熟虑,仔细斟酌,在确信成功把握极大时,才会出手。所以,他们要么不出手,出手基本就能成功,基本不存在未遂、中止的情形,这些人费尽心思、千辛万苦的,眼看就要成功了,他们是不可能只预备,不干活的。
换做是你,你会做杨白劳吗?

 
           
        